>ECI1000 Motion Control Card (Pulse)
>ECI2000 Motion Control Card (Pulse / EtherCAT)
>ECI3000 Motion Control Card (Pulse / EtherCAT)
>PCI EtherCAT PC-Based Motion Control Card
>PCIe EtherCAT PC-Based Motion Control Card
>Free Vision & Motion Development RTSys
>VPLC532E Vision Motion Controller
Zmotion Motion Control Solution Continues.
Today, let’s see “Laser Drilling by Laser” application, and the main control product is our “open laser galvanometer motion controllers ZMC408SCAN-V22”.

In glass processing, drilling efficiency directly influences the production period and the economic benefits. And especially in the industries of consumer electronics, building curtain walls, new energy, and so on, glass is required increasingly. However, the obvious problem of the traditional method is “low efficiency”. Then, laser drilling technology is better because it is more efficient and more accurate, and it will replace traditional technology gradually, becoming the mainstream choice for high-precision glass processing. What’s more, it has achieved scale production in areas of mobile phone cover, car display, photovoltaic glass, etc.

Traditional Waterjet | Laser Drilling | |
Principle | Do glass cutting by high-pressure water jet. | Be with high-energy pulse and laser to etch glass point to point, and use thee scan system to precisely control the focus path. Synchronously, scan in the way of spiral from the top to bottom, then achieve precise penetration control. *maximum aperture capacity: 60mm *edge chipping control: ≤ 250μm *occasions: drilling for micro-hole arrays, tapered holes, glass tube, etc. |
Disadvantages & Advantages | Disadvantages: lLow Processing Speed: it relies on the progressive cutting of high-pressure water mixed abrasive mechanical erosion, which limits the processing rate. lLong Auxiliary Time: the dynamic response of the nozzle is slow, and the auxiliary time accounts for up to 40% in multi-hole processing. lLow Precision of Micro-Processing: the minimum aperture is usually ≥ 0.8mm, which is difficult to meet the precision processing requirements of electronic devices lComplex Steps: auxiliary operations such as pressure adjustment and abrasive replacement further reduce the overall efficiency. | Advantagesof Laser Cutting Solution: ü High Efficiency:vaporize the material at μs level, and the mechanical inertia limit can be removed by non-touch processing. Theoretically, the processing speed can be up to 10-100 multiples of waterjet technology. ü High Accuracy & Flexibility:it can do positioning and jumping at the level of ns based on the scan system, and achieve “0” auxiliary Time by digital control. At the same time, one platform integrates marking, drilling, cutting functions. ü Wide Applications: a. architectural glass: improve the processing efficiency of 4-6 times. b. electronic glass: precisely cut the micro-hole array at the level of 0.11mm. c. special-shaped processing: complex graphic can be formed at one time, and no need to change it, then the period can be shortened. |
|
|
Let’s see our Zmotion Laser Glass Drilling solution in details.

It can be seen the main control product is ZMC408SCAN-V22, which can connect and control slave devices and externa devices. And the software is our Zmotion cutting system software.
A. Hardware: ZMC408SCAN-V22

“Independent Laser Galvanometer Motion Controller ZMC408SCAN-V22” Helps You Achieve Efficient & Accurate EtherCAT Motion Control + Laser Galvanometer Solution!
*High Integration*
Integrate Laser Control, Scan Control, EtherCAT / Pulse Motion Control, with IO Control.
*Rich Interfaces*
24DI | Connect to photoelectric switch, like, origin, position limit |
24DO | Do fly-shooting, relay output |
4 Pulse Axes | Connect to stepper / servo drives |
2 SCAN | Connect to scans of XY2-100 protocol |
Fiber | Connect to fiber, CO2, YAG lasers |
Laser | Connect to IPG-YLR, and 24V control signal’s lasers |
EtherCAT | Connect to EtherCAT drives and IO modules |
Ethernet | 100M ethernet, connect to PC. |
*Powerful Functions*
It supports 1D/2D/3D PSO function, which can do fly-shooting, precise dispensing, laser energy control. And multiple axes linked also can be achieved
B. Software: Zmotion ZLaserMarking Laser Cutting System
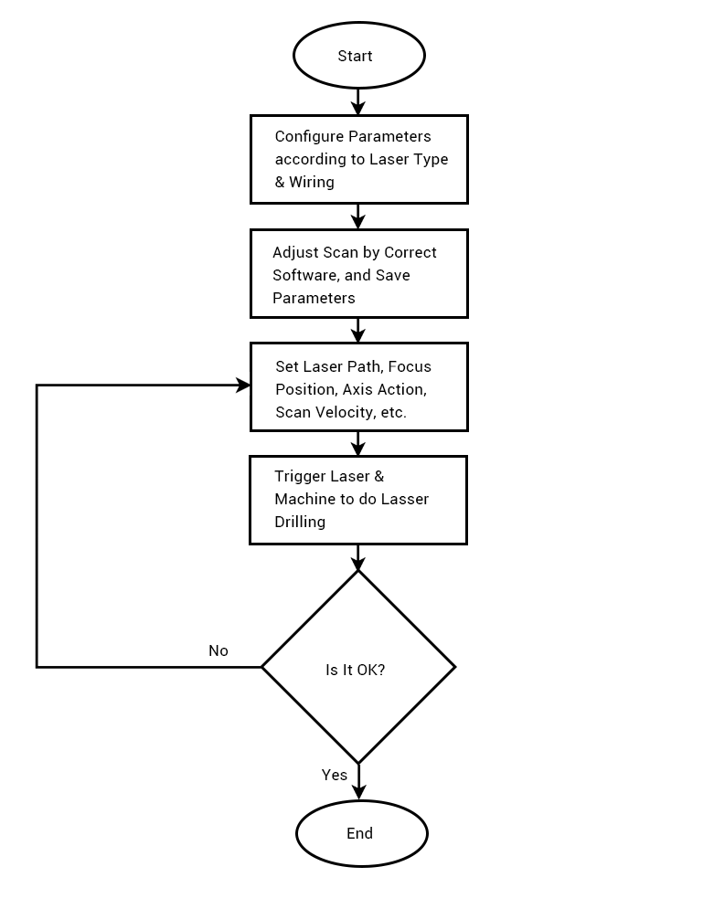
Through Zmotion ZLaserMarking laser cutting system, it can adjust main parameters, like, laser power, scanning speed, line spaces, and continuous trajectory can be achieved. Then, precisely control the laser beam move along with the processing trajectory, do drilling at specified glass processing area.

*High-Precision Galvo Correction*
There is a high-precision vision correction interface, which can do matrix transformation of galvo coordinate system to splice multi-galvo withhigh-accuracy.
*Intelligent Nesting*
It automatically calculates the shortest cutting path to reduce unnecessary movements and maximize the equipment efficiency. And mainstream file formats are supported, like, DXF, AI, SVG, etc.
*High-Precision Control *
Except high-precision vision multi-point galvo correction, it also supports several kinds of platform corrections, like, backlash compensation, pitch compensation, and 2D compensation.
*Rich Graphic Editing*
It can edit and vectorize graphic, text, also can process the barcode. In addition, all types of file formats can be imported and operated.
*Powerful Technologies*
For trajectory filling, there are many choices, one-way, two-way, circular, radial. And for the special-shape curve technologies, sine, spiral, “8” shape are supported.

Film Laser Cutting Processes
It is important to reduce the debris accumulation while cutting the glass. Because the microcracks maybe generated, then the fine dust and debris are also made, staying at the cutting gap, which will hinder energy conduction and heat dissipation, causing the glass to shatter or explode.
Therefore, it is necessary tooptimize below technologies.
A. Cutting-Direction Control – Chip Removal by Gravity & Negative Pressure
The glass has high transmittance for the laser, so we can make the focus locate on the bottom surface of the glass, then use the layered cutting method from the up to bottom. What’s more, put one exhaust device on the bottom of cutting position to directly guide the debris and dust away from the cutting area through the synergistic effect of gravity and negative pressure. In this way, interference can be avoided, and the processing can be more stable.

B. Cutting Trajectory Config – Build Efficient Chip Removal Channel
Even though the cutting method (from up to down) can remove some dusts, not completely. We could make one chip removal channel through multiple-line cutting, because the laser single-line cutting gap width is<100μm usually.
Then, key parameters include:
Ø dynamic line space adjusting : real-time optimize the line circles’ space according to the laser power, glass thickness.
Ø trajectory optimization: ensure the cutting continuity by parallel lines / spiral involutes.
Ø laser strategy: match the trajectory that is from inside to outside / from outside to inside with multi-line space control for reducing the edge chipping size and improving cross-section quality.

C. Process Parameters Dynamic Adjust & Control
a. Core Parameters of Cutting Effect
Marking speed, light on/off delay, inflection point delay, laser frequency, laser pulse width, laser energy duty cycle, spiral radius, spiral spacing, deep engraving layer height, etc.
b. Optimization Key Parameters
Ø marking speed (direct affect cutting efficiency): if it is too fast, causing insufficient cutting depth, and internal heat accumulation. If it is too slow, then the excess heat will remelt the debris before it is discharged. Under both situations, the bursting maybe appeared.
Ø other parameters: do find adjustment according to the specific glass material characteristics, laser type and power, when the effective cutting is ensured, at the same time, achieving a dynamic balance between heat input and debris discharge.

A. Control Integration
One ZMC408SCAN-V22 controller can control the galvanometer and servo synchronously, which can ensure multi-axis collaboration and system stability.
B. Rich Interfaces & Low Cost
Mainstream interfaces (EtherCAT, pulse, AIO, IO) are integrated, the hardware structure can be simple, then device control cost is reduced effectively.
C. Efficient Drilling & Multi-Axis Linked
It supports 2.5D galvo control, and XYZ can do linked processing, which obviously promotes drilling efficiency and precision.
D. Multi-Axis Precise Interpolation
Comple trajectory synchronization between servo axis and scan axis also can be achieved. Therefore, the control’s complex path and high precision requirements can be met.
E. Flexible Secondary Development
You could do secondary development for ZMC408SCAN-V22, we Zmotion provide C++, C# specialized laser function library for development and examples for reference.
F. Offline Operation & Stable and Reliable
It can run offline, and multiple programs can be loaded. What’s more, they can be triggered by IO / API, ensuring the system that runs steadily.